Apple may be working on a new way to expand satellite connectivity on its iPhones and it might not require a redesigned iPhone. As per a new report, the brand is working on a specialised case that could significantly enhance satellite communication on compatible iPhones and iPads.
Apple could be working on iPhone case with built-in antenna
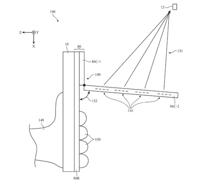
Folks over at AppleInsider spotted the patent titled "Electronic Device and Case with Satellite Communication Capabilities," which describes a removable case equipped with its own phased array antenna.

Unlike the current built-in satellite system, which primarily supports Emergency SoS and requires users to point their device toward the sky. With this case, users could maintain a stronger and more stable connection by linking to multiple low-Earth orbit satellites at once.
Going by the illustrations in the filing suggest the accessory may feature a deployable or flip-out antenna panel. By handling satellite transmission externally, the case could reduce signal obstruction caused by a user's hand and potentially allow for better range and clarity than the phone's internal antenna.
While Apple's long-term goal likely remains fully integrating advanced satellite hardware directly into its devices, this case-based approach could act as a nice solution in the meantime.
However, do note that as with most patents, there's no guarantee the special satellite communication enhancing iPhone case will reach the market.












.jpg)














